一、产品简介
SD-QY型乳化液排雾过滤器吸收国外同类产品的先进技术后开发的,应用于去除钢铁企业冷轧厂冷轧工艺中产生的油雾、乳化液雾、汽雾等污物,用于乳化液和空气的分离。整套设备包括:1、过滤器本体;2、一二级过滤分离装置;3、整流装置;4、流量自动调节装置(风门);5、自动喷洗装置;6、排污收集装置;7、吊取装置等。其中一二级过滤分离装置采用不锈钢丝网夹纤维混合滤芯,整个过滤和清洗均由PLC控制柜控制执行。
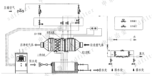
二、结构特点和工作原理
本产品结构比较复杂,是集各种装置和机构的成套专用设备,自动化程度高。工作时乳化液雾被引入入口端,由整流装置整流,以获得最佳的气流组织,进出口风门均处于全开位置,气体依次流入一级过滤区和二级过滤区,气体中的乳化液雾、油雾、烟雾微粒被滤芯吸附,清洁气体通过滤芯流入出口端,经整流后平稳、均匀地流入下游管道。随着过滤的进行,吸附在滤芯表面的杂质越来越多,并严重影响气体流过时,风门关闭,清洗装置打开,进行脉冲式或连续式汽水合洗。清洗结束后,清洗装置关闭,风门打开,进入下一个过滤/清洗循环。由于污物成分复杂并含有油类杂质,必要时可以离线清洗或更换。
三、产品特点
1、本设备采用一、二级混合纤维滤芯的方式来分离空气中的乳化液雾,一级滤芯采用屏障式,二级滤芯采用 W型波浪式,以获得最佳的过滤效果;
2、进气、出气均采用整流方式,使得气流组织分布稳定、均匀,有利于过滤平稳进行,保护滤芯不受紊流影响;
3、流量自动调节装置可以使得气流量由0~最大值自由调节,以适应过滤/清洗/节流的需要;
4、自动喷洗装置可以喷洗完整的滤芯表面,自适应喷射头可以避免清洗死角;
5、排污收集装置利用水封来收集污液和避免气体的泄漏;
6、设备带爬梯、护栏、吊取装置和检修门便于操作、维护和检修;
7、控制系统采用PLC可编程序控制器,清洗模式由压差、时间和手动三种控制方式,自动化程度高,运行安全可靠;
8、全中文菜单式操作界面,带密码保护,整机操作运行简单,维护方便。
四、型号标记

五、工作流程图

|